在氣焊氣割過程中,氣體火焰伴有爆鳴聲進入焊(割)炬,并熄滅或在噴嘴重新點燃的現象稱回火。回火有持續回火和回燒兩種。發生回火后火焰從焊、割嘴燃入,此時如果在氣體通路上沒有東西阻擋的話,火焰就會從焊、割炬經軟管而一直燃至乙炔發生器的貯氣室內,引起發生器爆炸,釀成嚴重事故。
發生回火的根本原因
原因是混合氣體從焊炬或割炬的噴射孔內噴出的速度小于混合氣體燃燒速度。一般影響氣體噴射速度的原因有以下幾點:
(1)輸送氣體的軟管太長、太細,或者是曲折太多,使氣體在軟管內流動時所受的阻力增大,因此就降低了氣體的流速。
(2)焊、割時間過長或者是因為焊、割嘴太靠近工件,此時焊割嘴溫度很高,使焊、割炬內的氣體壓力也隨著增高,這樣就增大了混合氣體的流動阻力,降低了氣體的流速。
(3)焊割嘴端面黏附了許多飛濺出來的熔化金屬微粒,阻塞了噴射孔,使混合氣體不能暢通地流出。
(4)輸送氣體的軟管內壁或焊、割炬內部的氣體通道上黏附了固體碳質微?;蚱渌镔|,這也增加了氣體的流動阻力,降低了氣體的流速。
回火防止器的作用和原理
為了防止火焰倒燃進入發生器內,就必須在乙炔軟管與乙炔發生器的中間裝置專門的防止回火的設備,這個專門的設備就是回火防止器。
回火防止器的作用主要有兩個:一個是把倒燃的火焰與乙炔發生器隔絕開來;另一個是在回火發生后立即斷絕乙炔的來路,這樣待殘留在回火防止器內的乙炔燒完后,倒燃的火焰也就自行熄滅了。

圖1-6 中壓閉式水封回火防止器
1—乙炔進氣管;2—止回閥;3—筒體;
4—水位閥;5—分配盤;6—濾清器;
7—放氣口;8—放氣活門;9—彈簧;
10—彈簧片;11—乙炔出口閥
回火防止器的種類
目前國內常用的水封式回火防止器,有低壓(0.01MPa以下)開式和中壓(0.01~0.05MPa)閉式兩種類型;常用的干式回火防止器,主要由中壓防爆膜式和中壓冶金片式等類型。
1. 中壓閉式水封回火防止器
國內使用的中壓閉式水封回火防止器的種類很多,典型的構造及作用原理如圖1-6所示。
圖1-6所示的回火防止器在正常工作時,乙炔由進氣管流入,依靠乙炔本身的壓力頂開止回閥門從水下冒出,通過分配盤和濾清器后聚集在水筒的上面,經乙炔出口閥向外輸出。
發生回火時,倒流的火焰從乙炔出口閥燃入,水筒內的壓力就立即增高。此時產生兩種作用,一方面水筒內的壓力通過水傳遞到止回閥,將乙炔通道關閉;另一方面由于燃燒氣體壓力的作用,將彈簧片頂起,使放氣活門與彈簧片離開,氣體從放氣口流出。最后,當水筒的乙炔燒完后,倒燃的火焰也就自行熄滅了。
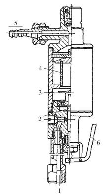
2. 微孔熄火型干式回火防止器
微孔熄火型干式回火防止器(以GY-76型為例)的構造,如圖1-7所示。這種回火防止器采用多孔陶瓷管作為止火元件。正常工作時,乙炔由進氣口進入,經錐形閥芯的外周流至陶瓷管內,再透過管壁微孔到外圍空間,然后從出氣口輸向焊、割炬。
回火時,倒燃火焰回燒到陶瓷管外圍空間,使乙炔爆炸,把上端的泄氣閥頂開,燃燒氣體即排至大氣。同時借多孔陶瓷管的滅火作用使火焰熄滅,而爆炸的沖擊波透過陶瓷管作用在承壓片上,將閥芯壓下,切斷乙炔來源。止住回火后,只要將下端手柄向上推,閥芯又被頂至原位,承壓片也由彈簧頂起,乙炔又流入,便可繼續進行焊、割作業。

圖1-7 GY-76型干式回火防止器
1—進氣口;2—錐形閥芯;
3—承壓片; 4—多孔陶瓷止火管;
5—出氣口;6—手柄













